亚临界/超临界水条件下镍基合金 (Incoloy800,825,625)的硫化腐蚀特性研究 |
| 张洁, 曲积钰, 卢金玲, 刘倩, 罗兴锜 |
|
Sulfidation Corrosion Behavior of Nickel-based Alloys (Incoloy800, 825 and 625) in Sub/supercritical Water |
| ZHANG Jie, QU Jiyu, LU Jinling, LIU Qian, LUO Xingqi |
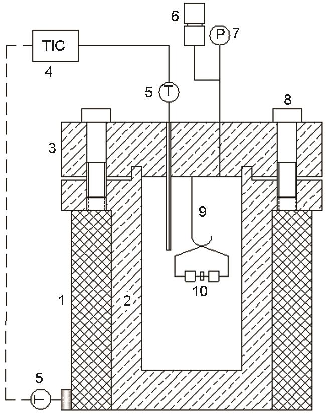
| 图1 间歇式超临界水反应装置示意图 |
| Fig.1 Schematic diagram of the batch supercritical water reactor (1 electrical heater; 2 reactor, 3 reactor cap, 4 temperature controller, 5 thermocouple, 6 safety valve, 7 pressure gauge, 8 bolt, 9 sample hook, 10 samples) |
|